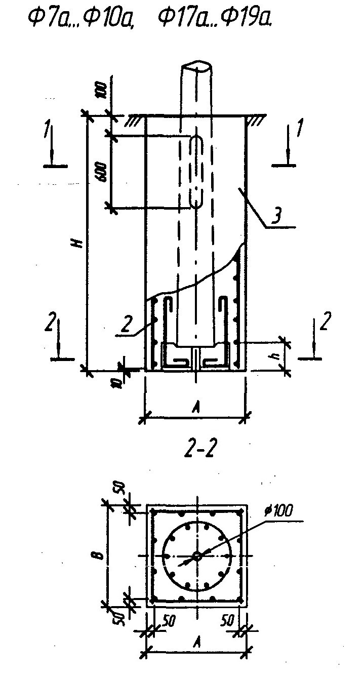
Ф 9 а

Чертеж изделия:
Характеристики изделия:
ПараметрЗначение
Высота Н2500 мм
Высота h550 мм
Длина А1200 мм
Ширина В1200 мм
Вес8375 кг
СерияБ3.507.1-3.04
Норма погрузки на машину (20тн)2 шт
Вагонная норма погрузки-

Фундамент Ф 9 а изготавливается из тяжелого бетона и предназначен для установки стоек СКЦ согласно нормам серии Б3.507.1-3.04.