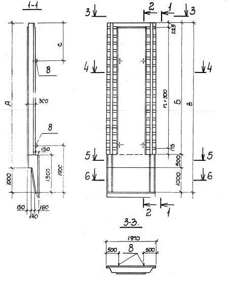
2ПС 102.3-5к

Чертеж изделия:
Характеристики изделия:
ПараметрЗначение
Длина1970 мм
Ширина300 мм
Высота11200 мм
Масса14130 кг
Нормативный документСерия 3.901.1-14

2ПС 102.3-5к   Панель стеновая по Серии 3.901.1-14.

Маркировка

2 - опускной способ производства работ;

ПС - панель стеновая;

102 - длина стеновой панели в дм;

3 - толщина стеновой панели в дм;

5 - тип армирования;

к - вариант с клиновидным стыком.