ПН 2

Чертеж изделия:
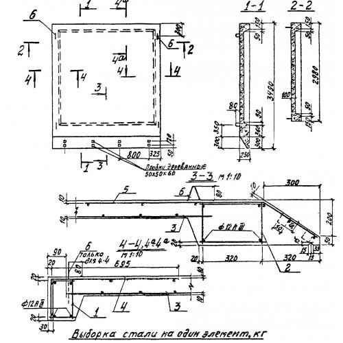
Характеристики изделия:
ПараметрЗначение
длина3490 мм
ширина2980 мм
высота250 мм
вес3300 кг
серия3.702-1/79

ПН 2 Плиты надсилосных перекрытий силосных корпусов по серии 3.702-1/79.