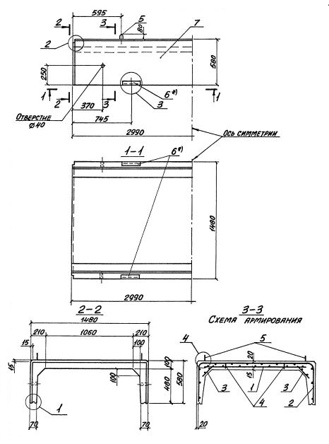
ЛК 300.150.60 лотки

Чертеж изделия:
Характеристики изделия:
ПараметрЗначение
длина2990 мм
ширина1480 мм
высота580 мм
масса1850 кг
нормативный документСерия 3.006.1-8

ЛК 300.150.60  Лотки каналов Серия 3.006.1-8.