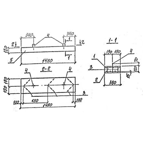
Б 1 балки

Чертеж изделия:
Характеристики изделия:
ПараметрЗначение
длина1480 мм
ширина380 мм
высота120 мм
масса170 кг
нормативный документСерия 3.006.1-8

Б 1  Балки перекрытия каналов Серия 3.006.1-8.