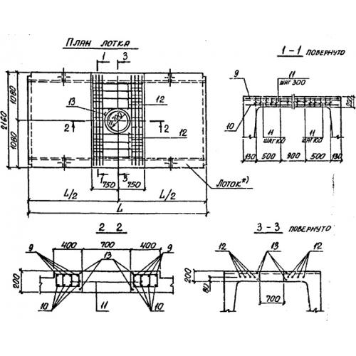
Ло 22/2 лотки с отверстием

Чертеж изделия:
Характеристики изделия:
ПараметрЗначение
длина2970 мм
ширина2160 мм
высота1640 мм
масса5450 кг
нормативный документСерия 3.006.1-2/87

Ло 22/2  Лотки теплотрасс с отверстием Серия 3.006.1-2/87.