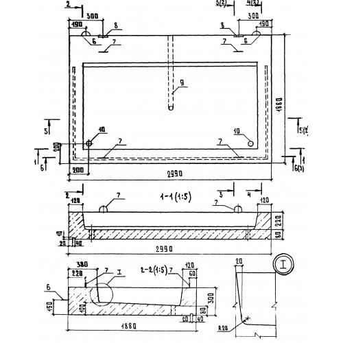
КВ 30.19

Чертеж изделия:
Характеристики изделия:
ПараметрЗначение
длина2990 мм
ширина1880 мм
высота300 мм
масса2275 кг
нормативный документСерия 1.238-1

КВ 30.19  Козырьки входов Серия 1.238-1.