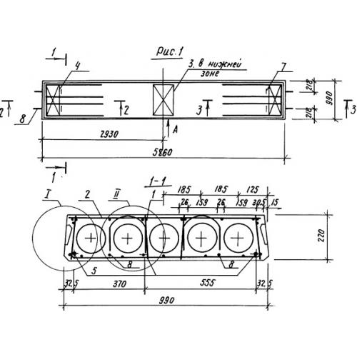
ПК 59.10

Чертеж изделия:
Характеристики изделия:
ПараметрЗначение
длина5860 мм
ширина990 мм
высота220 мм
вес1715 кг
серия1.141.1-32с

ПК 59.10 Плиты перекрытия многопустотные по серии 1.141.1-32с.