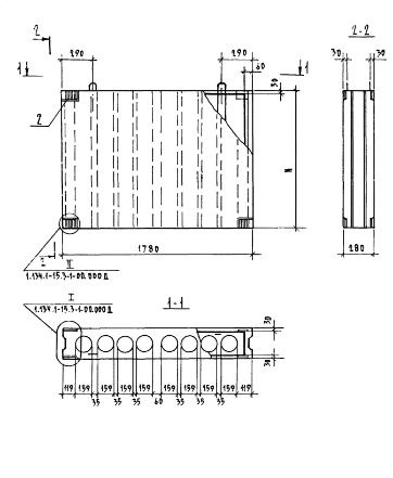
БВ 18.19.28 блоки вентиляционные

Чертеж изделия:
Характеристики изделия:
ПараметрЗначение
длина1780 мм
ширина280 мм
высота1880 мм
масса1710 кг
нормативный документСерия 1.134.1-15

БВ 18.19.28  Блоки вентиляционные Серия 1.134.1-15.