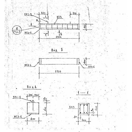
Б 11

Чертеж изделия:
Характеристики изделия:
ПараметрЗначение
длина1100 мм
ширина400 мм
высота400 мм
вес450 кг
серия1.125 КЛ-3

Б 11 Балки по серии 1.125 КЛ-3.