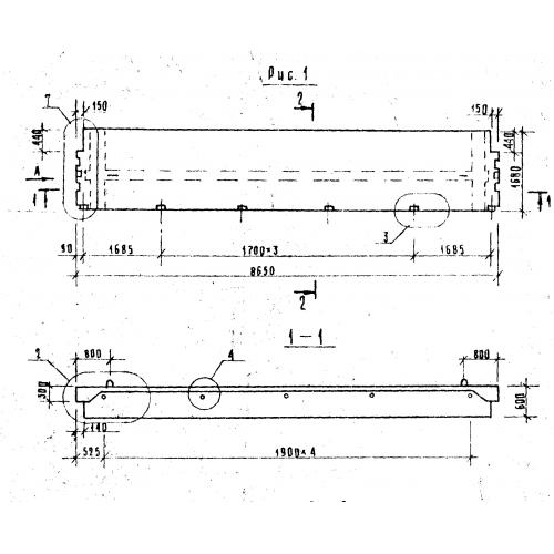
ПТ 86.17

Чертеж изделия:
Характеристики изделия:
ПараметрЗначение
длина8650 мм
ширина1680 мм
высота600 мм
вес4750 кг
серия1.042.1-2

ПТ 86.17 Плиты перекрытий тип "Т" по серии 1.042.1-2.