3КНО 36.48
Характеристики изделия:
| Параметр | Значение |
|---|---|
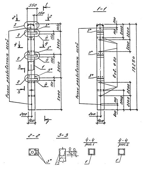
| длина | 13250 мм |
| ширина | 400 мм |
| высота | 550 мм |
| масса | 5380 кг |
| нормативный документ | Серия 1.020.1-4 |
Цена:
Рассчитать стоимость3КНО 36.48 Колонны одноконсольные для нижних этажей (Серия 1.020.1-4).
Маркировка с учетом диаметра угловых и промежуточных стержней арматуры, в мм. и марки бетона:
3КНО 36.48-3.20.00
3КНО 36.48-3.22.00
3КНО 36.48-3.25.00
3КНО 36.48-3.28.00
3КНО 36.48-3.32.00
3КНО 36.48-4.32.00
3КНО 36.48-5.32.00
3КНО 36.48-3.36.00
3КНО 36.48-3.40.00
3КНО 36.48-4.40.00
3КНО 36.48-5.40.00
3КНО 36.48-5.32.28