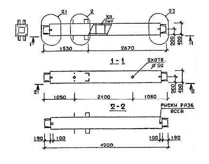
КС 42

Чертеж изделия:
Характеристики изделия:
ПараметрЗначение
длина4200 мм
ширина400 мм
высота400 мм
масса1679 кг
нормативный документСерия 1.020.1-2с/89

КС 42  Колонны средние Серия 1.020.1-2с/89.