С 35.2

Чертеж изделия:
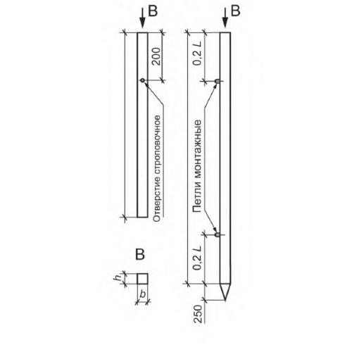
Характеристики изделия:
ПараметрЗначение
длина3500 мм
ширина200 мм
высота200 мм
масса350 кг
нормативный документГОСТ 24155-2016

С 35.2 Стойки по ГОСТ 24155-2016.